



DẠNG SÓNG 1
![]() |
| Tín hiệu IGT của IC đánh lửa (từ ECM đến IC đánh lửa) | |
| Tên cực của ECM | Giữa IGT (1 đến 4) và E1 Giữa IGF1 và E1 |
| Thiết lập đơn vị đo | 2 V/DIV., 20 ms./DIV. |
| Điều kiện | Không tải |
GỢI Ý:
Dạng sóng sẽ trở nên ngắn hơn khi tốc độ động cơ tăng lên.
DẠNG SÓNG 2
![]() |
| Cảm biến vị trí trục khuỷu và cảm biến vị trí trục cam | |
| Tên cực của ECM | CH1: Giữa G2+ và G2- CH2: Giữa NE+ và NE- |
| Thiết lập đơn vị đo | 5 V/DIV., 20 ms./DIV. |
| Điều kiện | Chạy không tải sau khi hâm nóng động cơ |
GỢI Ý:
Dạng sóng sẽ trở nên ngắn hơn khi tốc độ động cơ tăng lên.
DẠNG SÓNG 3
![]() |
| Tín hiệu vòi phun số 1 (đến số 4) | |
| Tên cực của ECM | Giữa #10 (đến #40) và E01 |
| Thiết lập đơn vị đo | 20 V/DIV., 20 ms./DIV. |
| Điều kiện | Không tải |
GỢI Ý:
Dạng sóng sẽ trở nên ngắn hơn khi tốc độ động cơ tăng lên.
DẠNG SÓNG 4
![]() |
| Cảm biến ôxy có bộ sấy (Thân máy 1, Cảm biến 2) | |
| Tên cực của ECM | Giữa OX1B và EX1B |
| Thiết lập đơn vị đo | 0.2 V/DIV., 200 ms./DIV. |
| Điều kiện | Duy trì tốc độ động cơ ở 2,500 v/p trong 2 phút sau khi hâm nóng cảm biến |
GỢI Ý:
Trong Danh mục dữ liệu, mục O2S B1 S2 sẽ cho biết các giá trị nhập vào ECM từ cảm biến ôxy có bộ sấy.
DẠNG SÓNG 5
![]() |
| Cảm biến tiếng gõ | |
| Tên cực của ECM | Giữa KNK1 và EKNK |
| Thiết lập đơn vị đo | 1 V/DIV., 1 ms./DIV. |
| Điều kiện | Duy trì tốc độ động cơ ở 4,000 v/p sau khi hâm nóng động cơ |
GỢI Ý:
DẠNG SÓNG 6
![]() |
| Tín hiệu tốc độ xe | |
| Tên cực của ECM | Giữa SPD và E1 |
| Thiết lập đơn vị đo | 5 V/DIV., 20 ms./DIV. |
| Điều kiện | Quay chậm rãi bánh xe chủ động |
GỢI Ý:
Bước sóng sẽ trở nên ngắn hơn khi tốc độ xe tăng lên.
DẠNG SÓNG 7
![]() |
| Cực dương của bộ chấp hành bướm ga | |
| Tên cực của ECM | Giữa cực M+ và ME01 |
| Thiết lập đơn vị đo | 5 V/DIV., 1 ms./DIV. |
| Điều kiện | Chạy không tải sau khi hâm nóng động cơ |
GỢI Ý:
Hệ số hiệu dụng thay đổi theo hoạt động của bộ chấp hành bướm ga.
DẠNG SÓNG 8
![]() |
| Cực âm của bộ chấp hành bướm ga | |
| Tên cực của ECM | Giữa cực M- và ME01 |
| Thiết lập đơn vị đo | 5 V/DIV., 1 ms./DIV. |
| Điều kiện | Chạy không tải sau khi hâm nóng động cơ |
GỢI Ý:
Hệ số hiệu dụng thay đổi theo hoạt động của bộ chấp hành bướm ga.
DẠNG SÓNG 9
![]() |
| Van VSV lọc | |
| Tên cực của ECM | Giữa cực PRG và E1 |
| Thiết lập đơn vị đo | 5 V/DIV., 50 ms./DIV. |
| Điều kiện | Không tải |
GỢI Ý:
Nếu dạng sóng không giống với hình vẽ, hãy kiểm tra dạng sóng một lần nữa sau khi để động cơ chạy không tải trong 10 phút trở lên.
DẠNG SÓNG 10
![]() |
| Tín hiệu tốc độ động cơ | |
| Tên cực của ECM | Giữa TACH và E1 |
| Thiết lập đơn vị đo | 5 V/DIV., 10 ms./DIV. |
| Điều kiện | Không tải |
GỢI Ý:
Dạng sóng sẽ trở nên ngắn hơn khi tốc độ động cơ tăng lên.
DẠNG SÓNG 11
![]() |
| Van điều khiển dầu phối khí trục cam (OCV) | |
| Tên cực của ECM | Giữa cực OC1+ và OC1- |
| Thiết lập đơn vị đo | 5 V/DIV., 1 ms./DIV. |
| Điều kiện | Không tải |
DẠNG SÓNG 12
![]() |
| Tín hiệu liên lạc CAN | |
| Tên cực của ECM | Giữa cực CANH và E1 |
| Thiết lập đơn vị đo | 1 V/DIV., 10 µsec./DIV. |
| Điều kiện | Động cơ tắt máy và khoá điện bật ON |
GỢI Ý:
Dạng sóng sẽ thay đổi theo tín hiệu thông tin CAN.
DẠNG SÓNG 13
![]() |
| Tín hiệu liên lạc CAN | |
| Tên cực của ECM | Giữa cực CANL và E1 |
| Thiết lập đơn vị đo | 1 V/DIV., 10 µsec./DIV. |
| Điều kiện | Động cơ tắt máy và khoá điện bật ON |
GỢI Ý:
Dạng sóng sẽ thay đổi theo tín hiệu thông tin CAN.














GỢI Ý:
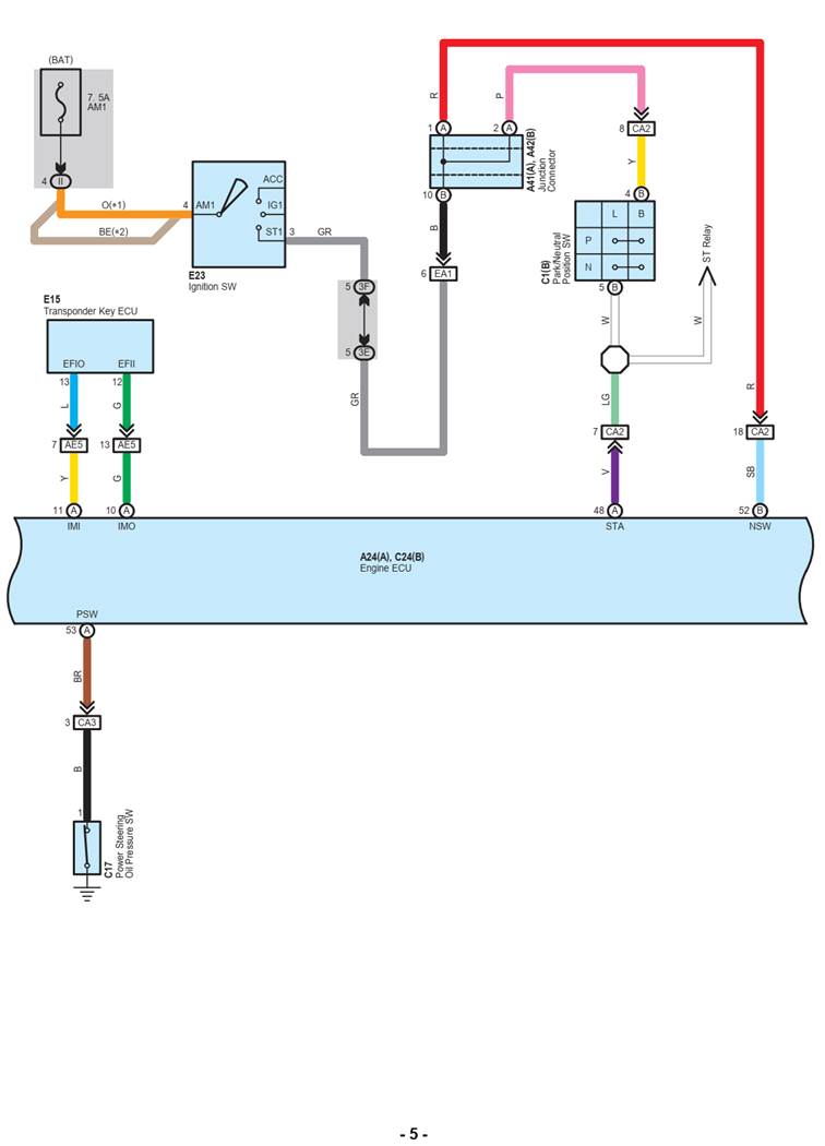
Điện áp tiêu chuẩn của các cực ECM được liệt kê trong bảng dưới đây.
Trong bảng, trước hết hãy kiểm tra thông tin dưới cột “Tình trạng”. Hãy nhìn phía dưới cột "Ký hiệu (số cực)" cho các cực cần được kiểm tra. Điện áp tiêu chuẩn giữa các cực như được chỉ ra dưới cột "Điều kiện tiêu chuẩn".
Hãy dùng hình vẽ trên để tham khảo các cực của ECM.
| Ký hiệu (Số cực) | Màu dây | Mô tả cực | Điều kiện | Điều kiện tiêu chuẩn |
| D (C24-56) - E1 (C24-104) | G - W-B | Tín hiệu công tắc vị trí D | Khóa điện ON (IG) và cần số ở vị trí D và S | 10 đến 14 V |
| Khoá điện ON (IG) và cần số ở ngoài vị trí D và S | Dưới 1 V | |||
| R (C24-53) - E1 (C24-104) | P - W-B | Tín hiệu công tắc vị trí R | Khoá điện ON (IG) và cần số ở vị trí R | 10 đến 14 V |
| Khoá điện ON (IG) và cần số ở ngoài vị trí R | Dưới 1 V | |||
| SPD (A24-8) - E1 (C24-104) | V - W-B | Tín hiệu tốc độ xe | Xe chạy ở tốc độ 20 km/h | Tạo xung (xem dạng sóng 8) |
| STP (A24-36) - E1 (C24-104) | W - W-B | Tín hiệu công tắc đèn phanh | Đạp bàn đạp phanh | 7.5 đến 14 V |
| Nhả bàn đạp phanh | Dưới 1.5 V | |||
| SFTD (A24-51) - E1 (C24-104) | L - W-B | Tín hiệu công tắc xuống số | Khoá điện ON (IG) và cần số ở vị trí S | 10 đến 14 V |
| Khoá điện ON (IG) và cần số ở vị trí "-" (Xuống số) | Dưới 1 V | |||
| SFTU (A24-16) - E1 (C24-104) | P - W-B | Tín hiệu công tắc lên số | Khoá điện ON (IG) và cần số ở vị trí S | 10 đến 14 V |
| Khoá điện ON (IG) và cần số ở vị trí "+" (Lên số) | Dưới 1 V | |||
| S (C24-74) - E1 (C24-104) | BR - W-B | Tín hiệu công tắc vị trí S | Khoá điện ON (IG) và cần số ở vị trí S | 10 đến 14 V |
| Khoá điện ON (IG) và cần số ở ngoài vị trí S | Dưới 1 V | |||
| P (C24-73) - E1 (C24-104) | GR - W-B | Tín hiệu công tắc vị trí đỗ xe | Khoá điện ON (IG) và cần số ở vị trí P | 10 đến 14 V |
| Khoá điện ON (IG) và cần số ở ngoài vị trí P | Dưới 1 V | |||
| N (C24-54) - E1 (C24-104) | SB - W-B | Tín hiệu công tắc vị trí trung gian | Khoá điện ON (IG) và cần số ở vị trí N | 10 đến 14 V |
| Khoá điện ON (IG) và cần số ở ngoài vị trí N | Dưới 1 V | |||
| NSW (C24-52) - E1 (C24-104) | SB - W-B | Tín hiệu công tắc vị trí đỗ xe/Trung gian | Khoá điện ON (IG) và cần số ở vị trí P và N | Dưới 2 V |
| Khoá điện ON (IG) và cần số ở ngoài vị trí P và N | 10 đến 14 V | |||
| DSL (C24-79) - E1 (C24-104) | BR - W-B | Tín hiệu van điện từ DSL | Lái xe với tốc độ 65 km/h (40mph), khóa biến mô (ON sang OFF) | Tạo xung (xem dạng sóng 2) |
| SR (C24-80) - E1 (C24-104) | G - W-B | Tín hiệu van điện từ SR | Khoá điện bật ON (IG) | Dưới 1 V |
| Số 3, số 4 hoặc số 5 | 10 đến 14 V | |||
| Số 1 hoặc số 2 | Dưới 1 V | |||
| S4 (C24-78) - E1 (C24-104) | GR - W-B | Tín hiệu van điện từ S4 | Khoá điện bật ON (IG) | Dưới 1 V |
| Tay số 5 | 10 đến 14 V | |||
| Ngoại trừ số 5 | Dưới 1 V | |||
| SL3+ (C24-60) - SL3- (C24-61) | O - Y | Tín hiệu van điện từ SL3 | Tốc độ không tải của động cơ | Tạo xung (Xem dạng sóng 3) |
| SL2+ (C24-58) - SL2- (C24-59) | G - R | Tín hiệu van điện từ SL2 | Tốc độ không tải của động cơ | Tạo xung (Xem dạng sóng 4) |
| SL1+ (C24-57) - SL1- (C24-77) | L - LG | Tín hiệu van điện từ SL1 | Tốc độ không tải của động cơ | Tạo xung (Xem dạng sóng 5) |
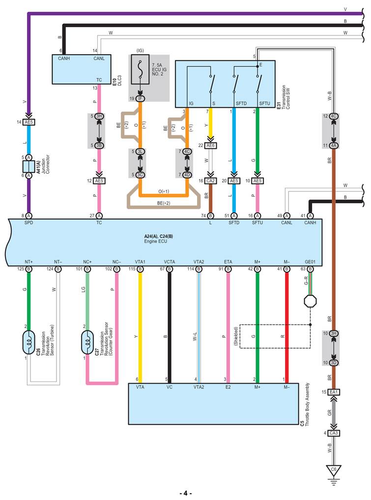
| NC+ (C24-101) - NC- (C24-102) | LG - P | Tín hiệu cảm biến tốc độ (NC) | Lái xe với tốc độ 30 km/h (19 mph): (Tay số 3) Tốc độ động cơ 1,400 v/p | Tạo xung (Xem dạng sóng 6) |
| NT+ (C24-125) - NT- (C24-124) | G - W | Tín hiệu cảm biến tốc độ (NT) | Xe chạy ở tốc độ 20 km/h | Tạo xung (xem dạng sóng 7) |
| SLT+ (C24-76) - SLT- (C24-75) | L - W | Tín hiệu van điện từ SLT | Tốc độ không tải của động cơ | Tạo xung (Xem dạng sóng 1) |
| THO1 (C24-72) - ETHO (C24-95) | Y - BR | Tín hiệu cảm biến nhiệt độ dầu ATF | Nhiệt độ dầu ATF: Từ 115°C (239°F) trở lên | Dưới 1.5 V |
Dạng sóng 1
| Tham khảo: | |
| Điện cực | SLT+ - SLT- |
| Đặt đơn vị đo | 5 V/DIV., 1ms./DIV. |
| Tình trạng xe | Tốc độ không tải của động cơ |
![]() |
Dạng Sóng 2
| Tham khảo: | |
| Điện cực | DSL - E1 |
| Đặt đơn vị đo | 10 V/DIV., 20 msec./DIV. |
| Tình trạng xe | Lái xe với tốc độ 65 km/h, khóa biến mô (ON sang OFF) |
![]() |
Dạng sóng 3
| Tham khảo: | |
| Điện cực | SL3+ - SL3- |
| Đặt đơn vị đo | 5 V/DIV., 1ms./DIV. |
| Tình trạng xe | Tốc độ không tải của động cơ |
![]() |
Dạng Sóng 4
| Tham khảo: | |
| Điện cực | SL2+ - SL2- |
| Đặt đơn vị đo | 5 V/DIV., 1ms./DIV. |
| Tình trạng xe | Tốc độ không tải của động cơ |
![]() |
Dạng Sóng 5
| Tham khảo: | |
| Điện cực | SL1+ - SL1- |
| Đặt đơn vị đo | 5 V/DIV., 1ms./DIV. |
| Tình trạng xe | Tốc độ không tải của động cơ |
![]() |
Dạng Sóng 6
| Tham khảo: | |
| Điện cực | NC+ - NC- |
| Đặt đơn vị đo | 1 V/DIV., 20 msec./DIV. |
| Tình trạng xe | Lái xe với tốc độ 30 km/h: (Tay số 3) Tốc độ động cơ 1.400 v/ph |
![]() |
Dạng Sóng 7
| Tham khảo: | |
| Điện cực | NT+ - NT- |
| Đặt đơn vị đo | 5 V/DIV., 0 msec./DIV. |
| Tình trạng xe | Lái xe với tốc độ 20km/h (12 mph) |
![]() |
Dạng sóng 8
| Tham khảo: | |
| Điện cực | SPD - E1 |
| Đặt đơn vị đo | 5 V/DIV., 20 msec./DIV. |
| Tình trạng xe | Lái xe với tốc độ 20km/h (12 mph) |
GỢI Ý:
Tùy theo xe mà điện áp của dạng sóng phát ra, bị ảnh hưởng bởi những hệ thống lắp đặt tùy chọn, có thể sẽ đạt tới giá trị 5V.










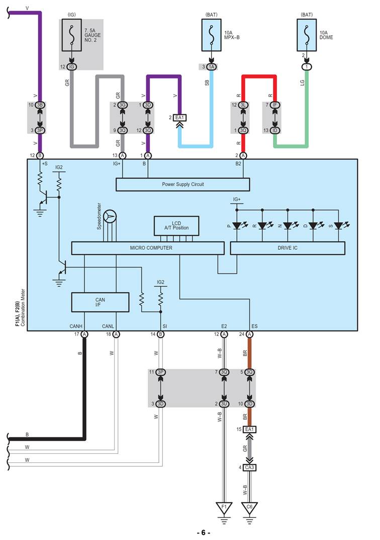
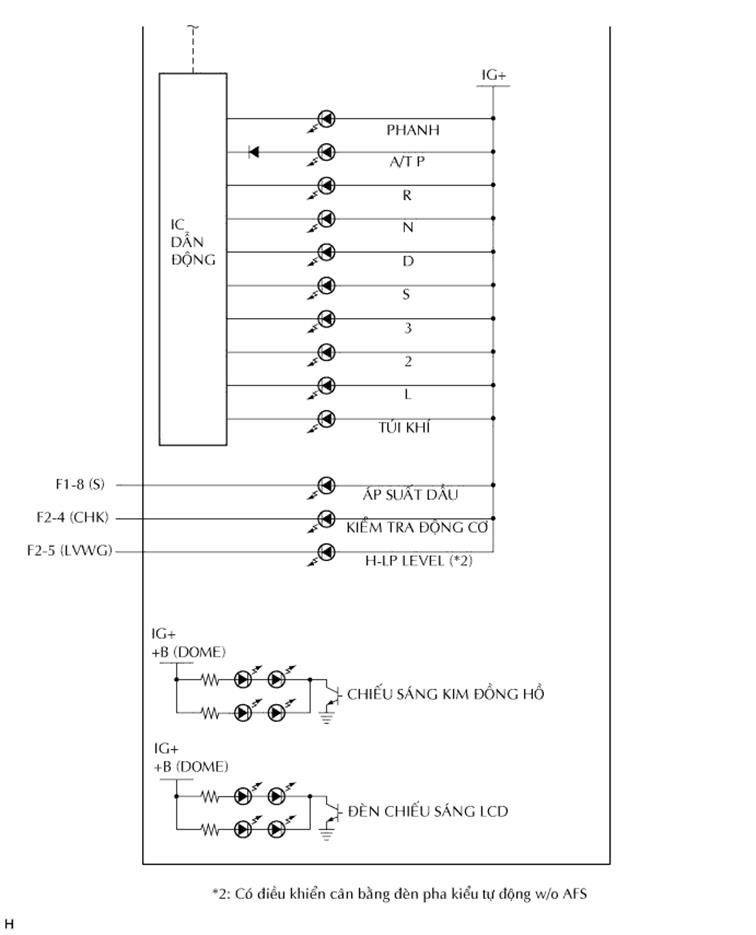
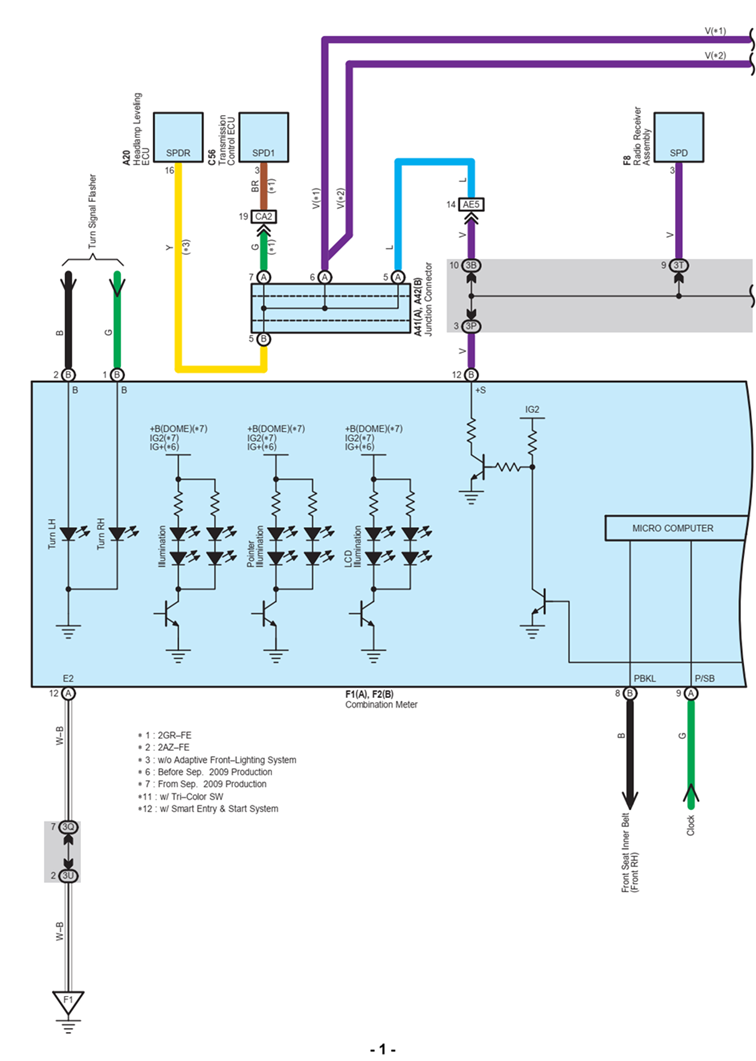
a. Cụm đồng hồ táplô
*1: Có Hệ thống điều khiển cân bằng đèn pha kiểu tự động không có AFS
![]()
| Ký hiệu (Số cực) | Màu dây | Mô tả cực | Điều kiện | Điều kiện tiêu chuẩn |
| B (F1-1) - Mát thân xe | V - Mát thân xe | Ắc quy | Mọi điều kiện | 10 đến 14 V |
| B2 (F1-2) - Mát thân xe | R - Mát thân xe | Ắc quy | Mọi điều kiện | 10 đến 14 V |
| WLVL (F1-5) - Mát thân xe | LG - Mát thân xe | Tín hiệu công tắc cảnh báo mức nước rửa kính | Bật khóa điện đến vị trí ON (IG), hiển thị cảnh báo mức nước rửa kính ON. | Dưới 1 V |
| Bật khóa điện đến vị trí ON (IG), hiển thị cảnh báo mức nước rửa kính OFF. | 10 đến 14 V | |||
| S (F1-8) - Mát thân xe | O - Mát thân xe | Tín hiệu đèn báo áp suất dầu động cơ | Bật khóa điện đến vị trí ON (IG), đèn cảnh báo áp suất dầu động cơ OFF. | 10 đến 14 V |
| Bật khóa điện đến vị trí ON (IG), đèn cảnh báo áp suất dầu động cơ ON. | Dưới 1 V | |||
| P/SB (F1-9) - Mát thân xe | G - Mát thân xe | Tín hiệu đèn báo đai an toàn ghế hành khách | Ngồi lên ghế hành khách trước, bật khoá điện ON (IG), đèn cảnh báo đai ghế hành khách trước tắt OFF | 10 đến 14 V |
| Ngồi lên ghế hành khách trước, bật khoá điện ON (IG), đèn cảnh báo đai ghế hành khách trước đang nháy. | 10 đến 14 V ←→ Dưới 1 V | |||
| E2 (F1-12) - Mát thân xe | W-B - Mát thân xe | Nối mát | Mọi điều kiện | Dưới 1 V |
| IG+ (F1-13) - Mát thân xe | GR - Mát thân xe | Tín hiệu khóa điện | Tắt khoá điện OFF | Dưới 1 V |
| Bật khoá điện ON (IG) | 10 đến 14 V | |||
| CANH (F1-17) - Mát thân xe | B - Mát thân xe | Tín hiệu liên lạc CAN | - | - |
| CANL (F1-18) - Mát thân xe | W - Mát thân xe | Tín hiệu liên lạc CAN | - | - |
| DISP (F1-22) - Mát thân xe | V - Mát thân xe | Tín hiệu công tắc mặt vô lăng | Bật khóa điện đến vị trí ON (IG), công tắc DISP tắt | 4 đến 6 V |
| Bật khóa điện đến vị trí ON (IG), công tắc DISP bật | Dưới 1 V | |||
| CHG- (F1-23) - Mát thân xe | Y - Mát thân xe | Tín hiệu đèn báo nạp | Bật khóa điện đến vị trí ON (IG), đèn cảnh báo nạp tắt. | 10 đến 14 V |
| Bật khóa điện đến vị trí ON (IG), đèn cảnh báo nạp sáng. | Dưới 1 V | |||
| ES (F1-24) - Mát thân xe | BR - Mát thân xe | Nối mát (Nối mát tín hiệu) | Mọi điều kiện | Dưới 1 V |
| B (F2-1) - Mát thân xe | G - Mát thân xe | Tín hiệu đèn xi nhan | Bật công tắc động cơ ON (IG), đèn chỉ báo xinhan phải OFF | Dưới 1 V |
| Bật công tắc động cơ ON (IG), đèn chỉ báo xinhan phải ON | 10 đến 14 V | |||
| B (F2-2) - Mát thân xe | B - Mát thân xe | Tín hiệu đèn xi nhan | Bật công tắc động cơ ON (IG), đèn chỉ báo xinhan trái OFF | Dưới 1 V |
| Bật công tắc động cơ ON (IG), đèn chỉ báo xinhan trái ON | 10 đến 14 V | |||
| CHK (F2-4) - Mát thân xe | R - Mát thân xe | Tín hiệu đèn cảnh báo kiểm tra động cơ | Bật khóa điện đến vị trí ON (IG), đèn cảnh báo KIỂM TRA ĐỘNG CƠ ON. | Dưới 3 V |
| Bật khóa điện đến vị trí ON (IG), đèn cảnh báo KIỂM TRA ĐỘNG CƠ OFF. | 10 đến 14 V | |||
| LVWG (F2-5) (*1) - Mát thân xe | P - Mát thân xe | Tín hiệu đèn điều khiển cân bằng đèn pha | Bật khóa điện đến vị trí ON (IG), đèn chỉ báo cân bằng đèn pha tắt | 10 đến 14 V |
| Bật khóa điện đến vị trí ON (IG), đèn chỉ báo cân bằng đèn pha sáng | Dưới 2 V | |||
| B/LE (F2-6) - Mát thân xe | LG - Mát thân xe | Tín hiệu đèn cảnh báo mức dầu phanh | Bật khóa điện đến vị trí ON (IG), đèn cảnh báo PHANH tắt. | 10 đến 14 V |
| Bật khóa điện đến vị trí ON (IG), đèn cảnh báo Phanh ON | Dưới 1 V | |||
| PBKL (F2-8) - Mát thân xe | B - Mát thân xe | Tín hiệu công tắc khoá đai ghế hành khách trước | Bật khóa điện đến vị trí ON (IG), đai an toàn ghế hành khách trước chưa thắt. | Dưới 1 V |
| Bật khóa điện đến vị trí ON (IG), đai an toàn ghế hành khách trước đã thắt. | 10 đến 14 V | |||
| +S (F2-12) - Mát thân xe | V - Mát thân xe | Tín hiệu tốc độ cho các hệ thống khác (đầu ra) | Quay chậm bánh xe | Tạo xung (Xem dạng sóng 1) |
| SI (F2-14) - Mát thân xe | W - Mát thân xe | Tín hiệu tốc độ cho các hệ thống khác (đầu vào) | Bật công tắc động cơ ON (IG), quay chậm vô lăng | Tạo xung (Xem dạng sóng 1) |
| FR (F2-15) - Mát thân xe | GR - Mát thân xe | Tín hiệu nhiên liệu | Bật khóa điện đến vị trí ON (IG), mức nhiên liệu là ĐẦY | Dưới 1 V |
| Bật khóa điện đến vị trí ON (IG), mức nhiên liệu là HẾT | 3 đến 7 V | |||
| FE (F2-16) - Mát thân xe | P - Mát thân xe | Nối mát (Nối mát bình nhiên liệu) | Mọi điều kiện | Dưới 1 V |
Dạng sóng 1 (Tham khảo): Dùng máy đo hiện sóng:
| Chi tiết | Điều kiện |
| Đặt đơn vị đo | 5 V/DIV., 20 ms/DIV. |
| Tình trạng xe | Lái xe với tốc độ xấp xỉ 20 km/h |

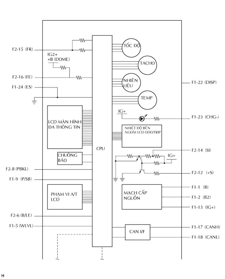
b. Mạch bên trong đồng hồ táp lô
*2: w/ Hệ thống điều khiển cân bằng đèn pha tự động không có AFS
![]()

![]()

![]()
| Cực số | Phía dây điện | |
| F1 | 1 | Cầu chì MPX-B (B) |
| 2 | Cầu chì DOME (B2) | |
| 3 | - | |
| 4 | - | |
| 5 | Công tắc mức nước rửa kính (WLVL) | |
| 6 | - | |
| 7 | - | |
| 8 | Công tắc áp suất dầu (S) | |
| 9 | Cụm đồng hồ (P/SB) | |
| 10 | - | |
| 11 | - | |
| 12 | Tiếp mát (E2) | |
| 13 | Cầu chì GAUGE No. 2 (IG+) | |
| 14 | - | |
| 15 | - | |
| 16 | - | |
| 17 | Đường truyền CAN (CANH) | |
| 18 | Đường truyền CAN (CANL) | |
| 19 | - | |
| 20 | - | |
| 21 | - | |
| 22 | Công tắc mặt vô lăng (DISP) | |
| 23 | Cực L của máy phát (CHG-) | |
| 24 | Nối mát (ES) | |
| F2 | 1 | Rơle bộ tạo nháy đèn xinhan (B) |
| 2 | Rơle bộ tạo nháy đèn xinhan (B) | |
| 3 | - | |
| 4 | ECM (CHK) | |
| 5 | ECU điều khiển cân bằng đèn pha (LVWG) (*2) | |
| 6 | Công tắc cảnh báo mức dầu phanh (B/LE) | |
| 7 | - | |
| 8 | Cụm đai trong ghế trước (Phía hành khách trước) (PBKL) | |
| 9 | - | |
| 10 | - | |
| 11 | - | |
| 12 | Mỗi chi tiết dùng một tín hiệu tốc độ (+S) | |
| 13 | - | |
| 14 | ECU điều khiển trượt (SI) | |
| 15 | Bộ đo nhiên liệu (FR) | |
| 16 | Bộ đo nhiên liệu (FE) | |



















a. Kiểm tra cụm cổ họng gió

- Dùng một Ômkế, đo điện trở giữa các điện cực.
Điện trở tiêu chuẩn:
| Ký hiệu (Số cực) | Điện trở | Nhiệt độ | |
| M+ (2) - M- (1) | 0.3 đến 100 Ω | 20°C (68°F) |
- Nếu kết quả không như tiêu chuẩn, hãy thay cụm cổ họng gió.
b. Kiểm tra cần đẩy bàn đạp ga
- Đo điện áp.

- Nối máy chẩn đoán với giắc DLC3.
- Bật khoá điện lên vị trí ON.
- Bật máy chẩn đoán on.
- Hãy chọn các hạng mục sau: Powertrain / Engine and ECT / Data List / Throttle Pos #1 and Throttle Pos #2.
- Vận hành bàn đạp ga và sau đó kiểm tra rằng các giá trị tín hiệu của vị trí chân ga số 1 và số 2 nằm trong phạm vi tiêu chuẩn.
Điện áp tiêu chuẩn (Vị trí bàn đạp ga số 1):
Tình trạng bàn đạp ga | Điều kiện tiêu chuẩn |
| Nhả | 0.5 đến 1.1 V |
| Đạp | 2.5 đến 4.5 V |
Điện áp tiêu chuẩn (Vị trí bàn đạp ga số 2):
Tình trạng bàn đạp ga | Điều kiện tiêu chuẩn |
| Nhả | 1.2 đến 2.0 V |
| Đạp | 3.4 đến 5.0 V |
- Nếu kết quả không như tiêu chuẩn, hãy kiểm tra cần đẩy bàn đạp ga, dây điện và ECM.
c. Kiểm tra cảm biến lưu lượng khí nạp
CHÚ Ý:
+ Tiến hành kiểm tra cảm biến MAF theo quy trình dưới đây.
+ Chỉ thay thế cảm biến MAF khi cả hai giá trị LONG FT#1 và giá trị MAF trong Danh mục dữ liệu DATA LIST (với động cơ tắt máy) không nằm trong phạm vi hoạt động bình thường.
- Tiến hành lái xe theo mẫu lái xe kiểm tra lại.

- Nối máy chẩn đoán với giắc DLC3.
- Bật khoá điện lên vị trí ON.
- Bật máy chẩn đoán on.
- Xoá các mã DTC
- Khởi động và hâm nóng động cơ với tất cả các thiết bị điện tắt OFF (cho đến khi nhiệt độ nước làm mát động cơ đạt từ 75°C (167°F) trở lên).
- Lái xe với tốc độ 50 km/h (31 mph) trở lên trong 3 đến 5 phút (*1).
- Cho phép động cơ chạy không tải trong 2 phút (*2).
- Thực hiện các bước (*1) và (*2) ít nhất 3 lần.
Hãy đọc các giá trị bằng cách dùng máy chẩn đoán (LONG FT#1).
- Chọn các mục sau: Powertrain / Engine and ECT / Data List / Long FT#1.
- Đọc các giá trị hiển thị trên máy chẩn đoán.
Giá trị tiêu chuẩn:
Nằm trong khoảng từ -15 đến +15 %
Nếu kết quả không như tiêu chuẩn, hãy tiến hành phép kiểm tra sau.
- Hãy đọc giá trị bằng cách dùng máy chẩn đoán (MAF).
CHÚ Ý:
+ Tắt động cơ.
+ Thực hiện việc kiểm tra xe ở trong nhà trên nền phẳng.
+ Thực hiện việc kiểm tra cảm biến MAF trong khi nó được lắp vào vỏ bộ lọc gió (lắp trên xe).
+ Trong khi thử, không được dùng ống hút khí xả để tiến hành hút trên đường ống xả.
- Bật khoá điện lên vị trí ACC.
- Bật khoá điện đến vị trí ON (Động cơ không nổ máy).
- Bật máy chẩn đoán on.
- Chọn các mục sau: Powertrain / Engine and ECT / Data List / MAF.
- Hãy đợi 30 giây và đọc các giá trị trên máy chẩn đoán.
Điều kiện tiêu chuẩn:
Ít hơn 0.49 g/sec.
+ Nếu kết quả không như tiêu chuẩn, hãy thay thế cảm biến MAF.
+ Nếu kết quả này không nằm trong tiêu chuẩn, hãy kiểm tra nguyên nhân của tỷ lệ khí-nhiên liệu rất nhạt hoặc cực đậm.
c. Kiểm tra cảm biến vị trí trục cam

- Đo điện trở của cảm biến.
Điện trở tiêu chuẩn:
| Nối dụng cụ đo | Điều kiện tiêu chuẩn |
| 1 (G+) - 2 (G-) | 835 đến 1,400 Ω khi nguội |
| 1 (G+) - 2 (G-) | 1,060 đến 1,645 Ω khi nóng |
CHÚ Ý:
Khái niệm "Lạnh" và "Nóng" được hiểu là là nhiệt độ của cuộn dây. "Lạnh" là từ -10 đến 50°C (14 đến 122°F) và "Nóng" là từ 50 đến 100°C (122 đến 212°F).
Nếu kết quả không như tiêu chuẩn, hãy thay thế cảm biến vị trí trục cam.
d. Kiểm tra cảm biến vị trí trục khuỷu

Dùng một Ômkế, đo điện trở giữa các điện cực.
Điện trở tiêu chuẩn:
| Nhiệt độ | Điều kiện tiêu chuẩn |
| Lạnh | 985 đến 1,600 Ω |
| Nóng | 1,265 đến 1,890 Ω |
CHÚ Ý:
Khái niệm "Lạnh" và "Nóng" là nhiệt độ của bản thân cuộn dây. "Lạnh" là từ -10 đến 50°C (14 đến 122 °F) và "Nóng" là từ 50 đến 100°C (122 đến 212°F).
Nếu điện trở không như tiêu chuẩn, hãy thay thế cảm biến.
e. Kiểm tra cảm biến nhiệt độ nước làm mát động cơ

Dùng một Ômkế, đo điện trở giữa các điện cực.
Điện trở tiêu chuẩn:
| Điều kiện | Điều kiện tiêu chuẩn |
| 20°C (68°F) | 2.32 đến 2.59 kΩ |
| 80°C (176°F) | 0.310 đến 0.326 kΩ |
Nếu kết quả không như tiêu chuẩn, hãy thay thế cảm biến.
CHÚ Ý:
Khi kiểm tra cảm biến nhiệt độ nước làm mát động cơ trong nước, không được để nước lọt vào bên trong các điện cực. Sau khi kiểm tra, phải lau khô cảm biến.
f. Cảm biến tiếng gõ

Dùng một Ômkế, đo điện trở giữa các điện cực.
Điện trở:
120 đến 280 kΩ tại 20°C (68°F)
Nếu điện trở không như tiêu chuẩn, hãy thay thế cảm biến.
g. Kiểm tra cụm van điều khiển dầu phối khí trục cam
Kiểm tra điện trở.
Dùng một Ômkế, đo điện trở giữa các điện cực.
Điện trở tiêu chuẩn:
6.9 đến 7.9 Ω ở 20°C (68°F)
Nếu cần thiết, hãy thay cụm van điều khiển dầu phối khí trục cam.

Vị trí dịch chuyển.
Nối cáp (+) ắc quy vào cực 1 và cáp âm (-) ắc quy vào cực 2, và kiểm tra chuyển động của van.
CHÚ Ý:
Kiểm tra rằng van dịch chuyển tự do và không bị kẹt ở bất kỳ vị trí nào.
Nếu cần thiết, hãy thay cụm van điều khiển dầu phối khí trục cam.
GỢI Ý:
Tạp chất tích tụ sẽ gây rò rỉ áp suất. Sự rò rỉ áp suất nhẹ sẽ làm cho trục cam quay sớm lên, và mã DTC sẽ được thiết lập.
Tác giả: hbhanoi
Ý kiến bạn đọc
Những tin mới hơn
Những tin cũ hơn
Công ty TNHH Công Nghệ Kỹ Thuật HB Hà Nội (HB Hà Nội Technology Technique Company Limited) là đơn vị chuyên sản xuất, cung cấp thiết bị dạy nghề và cung cấp các dịch vụ thương mại trọn gói từ khâu tư vấn, thiết kế đến chuyển giao công nghệ. Với hệ thống quản lý chất lượng đạt...